AUTOSAR Crypto Services Explained

M.Uwcrobertboschcollege 92 views
AUTOSAR Crypto Services Explained

AUTOSAR Crypto Services Explained

Hey guys, let’s dive deep into the fascinating world of AUTOSAR crypto services . If you’re working with automotive software, you’ve probably heard the term AUTOSAR thrown around. It’s the standard for automotive open system architectures, and it’s all about making car software development more efficient and robust. Now, when we talk about crypto services in AUTOSAR , we’re getting into the nitty-gritty of security. In today’s connected vehicles, security isn’t just a nice-to-have; it’s an absolute must. From protecting sensitive data to ensuring the integrity of software updates, cryptography plays a crucial role. AUTOSAR provides a standardized way to integrate these essential crypto functionalities into your electronic control units (ECUs). This means that no matter which supplier you’re working with, you can expect a certain level of security and interoperability. We’re talking about things like secure boot, authenticated communication, and data encryption, all built into the AUTOSAR framework. This standardization not only simplifies development but also enhances the overall security posture of the vehicle. Think about it – without these standardized crypto services, every car manufacturer and every supplier would have to reinvent the wheel for security, leading to inconsistencies and potential vulnerabilities. AUTOSAR aims to solve this by providing a common language and set of tools for implementing cryptographic operations. So, buckle up, because we’re about to explore how these crypto services in AUTOSAR work their magic to keep our cars safe and secure.

Understanding the Core Concepts of AUTOSAR Crypto Services

Alright, let’s get down to the nitty-gritty of what crypto services in AUTOSAR actually are. At its heart, AUTOSAR’s crypto stack is designed to provide a secure and standardized interface for cryptographic operations within the vehicle’s ECUs. Think of it as a universal toolkit for all things security-related in your car’s software. Why is this so important, you ask? Well, modern vehicles are basically computers on wheels, packed with sensitive data and complex software. To protect this, we need robust cryptographic functions. AUTOSAR defines a set of APIs (Application Programming Interfaces) that allow different software components to access these crypto functions without needing to know the intricate details of how they’re implemented on specific hardware. This is a huge win for developers, as it promotes modularity and reusability. You can write your application code once, and it can leverage the crypto services regardless of the underlying hardware or the specific cryptographic algorithms used. The core functionalities typically include services for generating and managing cryptographic keys, performing symmetric and asymmetric encryption/decryption, hashing, and digital signatures. These are the building blocks of most security protocols. For instance, when your car needs to communicate securely with a server or another ECU, it will use these crypto services to establish an encrypted channel and authenticate the parties involved. Secure boot , a critical security feature, relies heavily on these crypto services to verify the authenticity and integrity of the software loaded during startup, preventing unauthorized modifications. Similarly, secure onboard communication (SecOC) uses crypto primitives to ensure that messages exchanged between ECUs are not tampered with and originate from a trusted source. The AUTOSAR crypto stack is typically layered, with a lower layer often interacting directly with hardware security modules (HSMs) or crypto drivers, and an upper layer providing a more abstract interface to the application software. This abstraction is key to ensuring that applications are hardware-agnostic, making development and maintenance much easier. So, when we talk about crypto services in AUTOSAR , we’re really talking about a foundational element for building secure and trustworthy automotive systems.

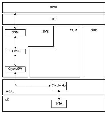
Key Components and Their Roles

Now that we’ve got a handle on the basics, let’s break down the key components that make up the crypto services in AUTOSAR . It’s not just one big blob; there are several interconnected modules that work together to keep things secure. First up, we have the Crypto Abstraction Layer (CAL) . Think of this as the central hub, the main point of contact for your application software when it needs a crypto operation. The CAL provides a standardized interface, abstracting away the complexities of the underlying cryptographic hardware or software implementations. This means your application doesn’t need to worry about whether it’s using a hardware crypto accelerator or a software-based implementation; the CAL handles that for you. This abstraction is super important for portability and maintainability. Next, we have the Key Management Services (KMS) . As the name suggests, KMS is all about managing cryptographic keys. Keys are the secret ingredients in cryptography, and managing them securely is paramount. KMS handles key generation, storage, retrieval, and deletion. It ensures that keys are protected from unauthorized access and that they are used only for their intended purposes. This is vital for preventing security breaches, as compromised keys can render even the strongest encryption useless. Then there’s the Cryptographic Service Manager (CSM) . The CSM acts as a dispatcher, routing crypto requests from the CAL to the appropriate cryptographic service providers. It manages the available crypto algorithms and hardware resources, ensuring that requests are processed efficiently and securely. It’s like the traffic cop for your crypto operations. We also have the Cryptographic Service Providers (CSP) . These are the actual modules that perform the cryptographic operations. They can be implemented in hardware (like a dedicated HSM) or in software. Examples include modules for AES encryption, SHA-256 hashing, RSA signatures, and random number generation. The CSM selects the appropriate CSP based on the requested operation and available resources. Finally, many implementations include a Hardware Security Module (HSM) Interface . If the vehicle has a dedicated HSM, this interface allows the AUTOSAR crypto stack to communicate with it securely. HSMs are specialized hardware devices designed to perform cryptographic operations and protect sensitive keys in a highly secure environment, offering the highest level of security. So, you see, it’s a well-orchestrated system. The CAL provides the interface, KMS handles the keys, CSM manages the process, and CSPs do the actual crypto work, often with the help of an HSM. This modular approach is what makes crypto services in AUTOSAR so powerful and flexible.

Cryptographic Algorithms and Protocols Supported

When we talk about crypto services in AUTOSAR , we’re not just talking about a generic security blanket; we’re talking about support for specific, industry-standard cryptographic algorithms and protocols that provide real security. The AUTOSAR standard defines which algorithms should be supported to ensure interoperability and a baseline level of security across different ECUs and manufacturers. Let’s break down some of the common ones you’ll encounter. For symmetric encryption , which is used for fast and efficient data encryption and decryption using a single secret key, you’ll commonly find support for algorithms like AES (Advanced Encryption Standard) . AES is the de facto standard for symmetric encryption, known for its strength and performance. AUTOSAR implementations typically support various AES modes, such as CBC (Cipher Block Chaining) and GCM (Galois/Counter Mode), each offering different security properties and performance characteristics. Then there’s hashing . Hashing algorithms generate a fixed-size